- 地址:
- 河北省泊頭市富鎮開發區
- 傳真:
- 0317-8041117
- Q Q:
- 28505225
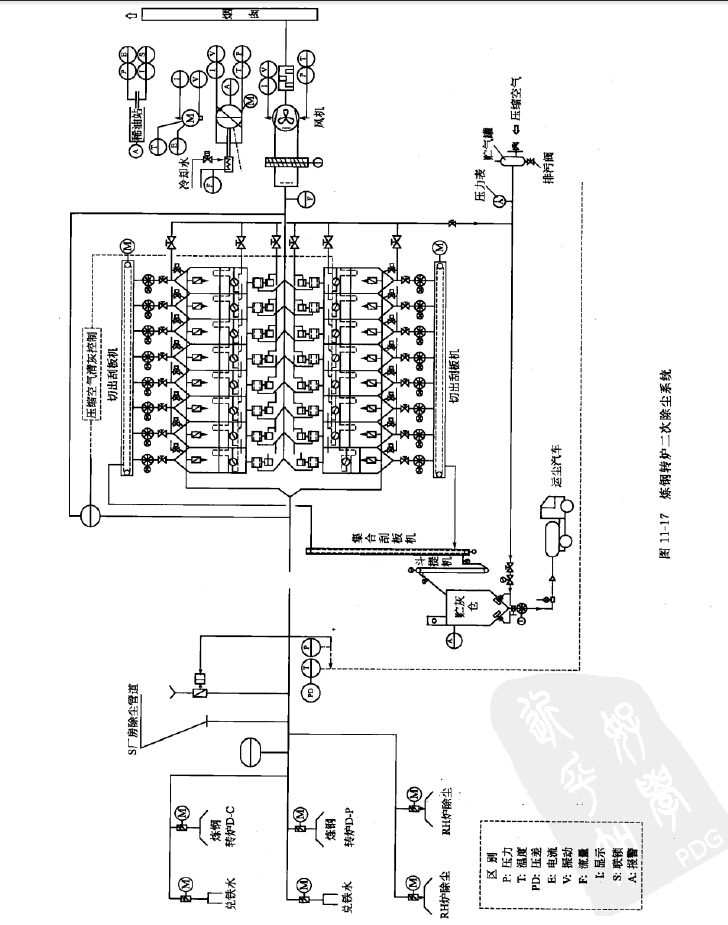
煉鋼車間設計有2座150t的轉爐,轉爐二次煙氣除塵系統主要包括對轉爐在吹煉、兌鐵 水和出鋼時產生的二次煙氣進行捕集,并對RH爐加料和RH爐投料保溫以及轉爐上料系統 等產生的粉塵進行捕集,采用干式布袋除塵系統。
1.除塵系統主要設備的組成
除塵系統的主要設備由轉爐兌鐵水抽氣罩、出鋼抽氣罩、風機、消聲器、長袋脈沖除塵 器、輸灰設備、調節閥、事故閥、卸灰閥、貯灰倉、煙囪等組成。除塵系統流程見圖11-17。
為了有效地捕集轉爐工作時產生的二次煙氣,轉爐被設在帶移動開門的密閉軍內。轉爐兌 鐵水時所產生的煙氣由設在兌鐵水側上部的兌鐵水排煙罩進行捕集,此罩也兼作捕集轉爐吹煉 時從爐口冒出的二次煙氣用,由于轉爐兌鐵水時排煙罩內煙氣溫度較高,并伴有高溫鋼水的熱 輻射,故在罩內貼有隔熱用的耐火材料。轉爐出鋼時所產生的煙氣由出鋼側排煙單進行捕集, RH爐加料和RH爐投料保溫以及轉爐料系統產生的粉塵也進人轉爐二次煙氣除塵系統。除塵 器進口前的除塵總管上設有混風降溫作用的緊急空氣稀釋閥,用以確保布袋除塵器煙氣進口溫 度小于130T:。
2.脈沖除塵器選擇
除塵設備設計為長袋脈沖除塵器,濾袋材料為經處理的聚酯針刺氈覆膜。含塵氣體首先由 原始煙氣管進人設備下部的集塵斗,隨后至上部的過濾腔,煙氣由濾袋外部進人濾袋里面,過 濾到允許排放的含塵濃度。而粉塵則被積聚在過濾袋的外表面,隨著濾袋外表面粉塵厚度的增 加,除塵器壓差達到一定的設定值時,采用離線清灰方式(壓差清灰或定時淸灰),用壓縮空 氣進行脈沖噴吹。
該除塵設備露天布置,是煉鋼轉爐二次煙氣除塵的主要設備。
脈沖除塵器由除塵器本體(含濾袋室框架清灰裝置灰斗等)、壓縮空氣系統、壓差系統及 梯子平臺等部分組成。
除塵器由14室組成,雙排布置。每室長5660mm,寬4170mm,每個室室內布置308條濾 袋,濾袋長6000mm,直徑160imn每室濾袋22組,每組14條。每室配一個檢修門,尺寸為 1780mm X 465mm,—共 22 個檢修門,
布袋除塵器濾袋材質是聚酯覆膜針刺毪。
脈沖除塵器作用:降溫后的電爐煙塵>39g/m3(標)經過布袋除塵器處理煙氣,出口含塵 濃度
3.主排煙風機
除塵系統所必需的抽吸壓力由雙支撐離心風機提供。風機位于除塵器后,將經過濾后的潔 凈氣體通過煙囪排入大氣。風機配有稀油站和高位油箱等安全捎施。另外為降低噪聲,在風機 的出口管道上裝有一個消聲器,同時風機機殼本身設有隔聲措施。風機配液力耦合器,根據工 藝液力耦合器采取無級調速。

風機風量900000m3/h;風機風壓5300Pa(進口 一4800Pa出口+500Pa)>電機功率 2000kW;電機轉速 990r/min。

4.粉塵的輸送和貯存
除塵器灰斗內粉塵通過空氣炮防棚灰裝置和星形卸灰閥卸灰,經19#、20#切出刮板輸 送機送至5 #集合刮板輸送機,并通過4 #斗式提升機至4 #貯灰倉。
貯灰倉頂上設簡易布袋除塵裝置(人工手動淸灰),灰斗上設空氣炮防棚灰裝置,配合星 形卸灰閥卸灰,采用吸引壓送罐車,定期對儲存在貯灰倉內的粉塵進行吸引裝載、壓力卸載, 粉塵集中統一處理。另外貯灰倉還設有料位連續檢測裝置,并對空倉和滿倉進行報警。
5.煙囪
含塵煙氣通過除塵器除塵凈化后,由風機送人煙囪進行髙空排放。煙囪高度30m,煙囪上 部設有粉塵在線檢測裝置,信號送能源中心。
6.除塵系統控制內容
開機前,必須熟讀操作說明書及其有關設備說明書,操作人員必須確認設備是否具備操作 準備。包括所有電動裝置單元是否作好操作準備,同時為操作的預備工作必須記錄在案。對于 開機準備,尤其在比較好次開機和長期的關機或大修改造以后,需檢査下列項目:①電氣高低壓 系統是否正常》②壓縮空氣系統和冷卻水系統是否有壓;③除塵器PLC控制是否正常,④除 塵器每倉室管道閥門是否都打開;⑤風機進口啟動閥是否處于關閉狀態;⑥貯灰倉料位是否在 低位狀態;集合刮板機和斗式提升機是否工作《⑦所有電磁閥正常;⑧所有測量回路正常有信 號;⑨所有閥門處于自動模式和需要的位置;⑩所有管道和設備檢査孔是否關閉;?打開所有 檢査人孔門,檢查設備運動部件(如風機轉子和閥門的閥片等)是否被厚灰或外來物卡住,清 除水平管道中的積灰,檢査過后,關閉所有的檢查人孔門;⑩所有設備的檢査門是否關閉; ?事故空氣稀釋閥的報警是否解除。

上一篇:塑燒板除塵器在精軋機除塵中的應用
下一篇:在高爐煤氣凈化中的應用

